Typical Wiring Diagram Data

Typical Wiring Diagram Data. Web what is a wiring diagram? A wiring diagram is a simplified representation of the conductors (wires) and components (devices, lights, motors, switches, sensors.

Typical Wiring Diagram Typical Trailer Ke Wiring Schematic
Typical Wiring Diagram Typical Trailer Ke Wiring Schematic from lt133-wiring-diagram.blogspot.com

On the file tab, click new, and then. Go back to the contents table ↑. Web as you can see in this network diagram, we have added a switch below the router.

Web Mengenal Simbol Pengkabelan Melalui Wiring Diagram.


On the file tab, click new, and then. Dengan wiring diagram, pins bisa memahami jalur kabel di rumah dan melakukan perbaikan ketika membutuhkannya. Web plc and dcs control systems wiring diagrams for digital input (di), digital output (do), analog input (ai), and analog output (ao) signals.

Web Use The Electrical Engineering Drawing Type In Visio Professional Or Visio Plan 2 To Create Electrical And Electronic Schematic Diagrams.


Web what is a wiring diagram? Sign up by mobile app 5. It helps to visualize the entire system and ensure that.

Web As You Can See In This Network Diagram, We Have Added A Switch Below The Router.


Web a network diagram is a visual representation of a computer or telecommunications network. Sebelum melakukan instalasi listrik rumah, teknisi harus menggambar. Edit the meter type 7.

Web A Wiring Diagram Is A Visual Representation Of Components And Wires Related To An Electrical Connection.


Man is known as metropolitan area networks, which is of greater size than local area networks, but has a smaller size than wide area networks. It is important to be familiar with the working principle of vfds as they are extensively used. The first number denotes the conductor’s gauge;.

Web An Rj45 Is A Popular Modular Connector Type That Provides Electronic Systems And Data Communication Services.


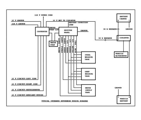
Web typical wiring diagram 3. Probably the most common network layout, this conglomerate features a standard router with a reliable wireless adapter. Web a wiring diagram is an essential tool that simplifies the process of connecting a cable tv and internet setup.